PCS-3001

Cast Steel Globe Steam Stop Valve (Flanged)

PCS-3001

Cast Steel Globe Steam Stop Valve (Flanged)

Salient Features
  • Flanged Ends Conforming to DIN 2545 PN 40 Standards.
  • Straight Pattern with an Outside Screw, Yoke Type, Rising Stem and Bolted Bonnet.
  • Renewable Working Components made from 13% Cr. Stainless Steel (S.S 410).
  • Streamlined Body Design Minimizes Internal Pressure Drop.
  • Operated Via a Hand Wheel.
  • Includes a Feature for Re-Packing Under Pressure.
  • Compatible with Thermic Fluid Applications.
Technical Data
  • Shell: 6.0 MPa (60 bar)

  • Maximum Working Pressure: 4.0 MPa (40 bar)

  •  

    Maximum Working Temperature: 425°C

     

     

     
     
     
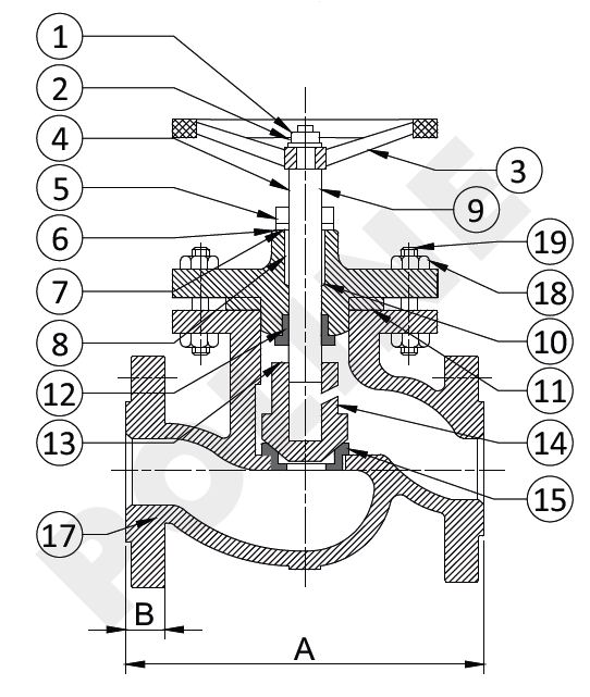
MATERIAL LIST
Part No Part Name Material Specification Qty
1 Nut Carbon Steel - 1
2 Washer Carbon Steel - 1
3 Hand wheel S.G Iron IS 1865 Gr. 400 / 15 1
4 Stem Stainless Steel ASTM A 276 Type 410 1
5 Yoke Bush Aluminium Bronze BS EN 1982 AB – 1 1
6 Locking Screw Carbon Steel IS 1367 1
7 Gland Flange Cast Steel IBR 73-80 Gr. B 1
8 Gland Stainless Steel ASTM A 276 Type 410 1
9 Bonnet Cast Steel IBR 73-80 Gr. B 1
10 Gland Packing Braided Graphite - -
11 Gasket Spiral Wound S.S (Type 316) Graphite Filled - 1
12 Back Seat Bush Aluminium Bronze BS EN 1982 AB – 1 1
13 Stem Nut Stainless Steel ASTM A 276 Type 410 1
14 Disc Cast Steel IBR 73-80 Gr. B 1
15 Seat Ring Stainless Steel ASTM A 276 Type 410 / ASTM A 182 Gr. F6a 1
16 Body Seat Ring Stainless Steel ASTM A 276 Type 410 / ASTM A 182 Gr. F6a 1
17 Body Cast Steel IBR 73-80 Gr. B 1
18 Nuts H.T Steel ASTM A 194 Gr. 2H As Reqd
19 Studs Alloy Steel ASTM A 193 Gr. B7 As Reqd
20 Nuts For Eye Bolts H.T Steel ASTMA 194 Gr. 2H 2
21 Eye Bolts Stainless Steel ASTM A 182 Gr. F6a 2
22 Pins For Eye Bolts Stainless Steel ASTM A 276 Type 410 2
SUITABLE FOR
GASES AIR STEAM OIL WATER
SIZE DESCRIPTION
Size (mm) A ±1.5 B~ ØC-
25 160 215 150
32 180 230 150
40 200 259 180
50 230 272 180
65 290 316 200
80 310 341 235
100 350 395 295
150 480 500 350
200 600 525 435
 

 

The information provided here serves as guidelines only and is subject to possible modification.
Whatspp Now For Inquiry
Call Now For Inquiry