PCS -3007

Cast Steel Globe Valve

PCS -3007

Cast Steel Globe Valve

Salient Features
  • Flanged ends conform to DIN 2545 PN 40.
  • Designed with a straight pattern, featuring an outside screw, yoke type, rising stem, and bolted bonnet.
  • Equipped with renewable working components made of 13% chromium stainless steel (S.S 410).
  • Streamlined body design ensures minimal pressure drop inside the valve.
  • Operated by a handwheel.
  • Includes a provision for re-packing under pressure.
  • Suitable for use with thermic fluid applications as well.
Technical Data
  • Shell: 6 MPa (870 psi)
  • Maximum Working Pressure: 4 MPa (580 psi)
  • Maximum Working Temperature: 425°C
     
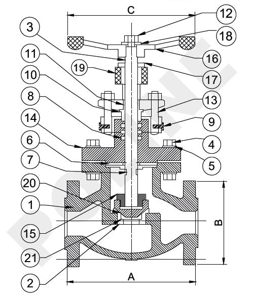
MATERIAL LIST
Part No Part Name Material Specification Qty
1 Body Cast Steel ASTM A 216 Gr. WCB 1
2 Body Seat Ring Stainless Steel ASTM A 276 Type 410 / ASTM A 182 Gr. F6a 1
3 Stem Stainless Steel ASTM A 276 Type 410 1
4 Studs Alloy Steel ASTM A 193 Gr. B7 As Reqd
5 Nuts H.T Steel ASTM A 194 Gr. 2H As Reqd
6 Gasket Spiral Wound S.S (Type 304) Graphite Filled 1
7 Back Seat Bush Aluminium Bronze BS EN 1982 AB – 1 1
8 Gland Packing Braided Graphite IS 4687 -
9 Pins For Eye Bolts Stainless Steel ASTM A 276 Type 410 2
10 Gland Stainless Steel ASTM A 276 Type 410 1
11 Gland Flange Cast Steel - 1
12 Nut Carbon Steel - 1
13 Eye Bolts Stainless Steel ASTM A 276 Type 410 2
14 Bonnet Cast Steel ASTM A 216 Gr. WCB 1
15 Stem Nut Stainless Steel ASTM A 276 Type 410 1
16 Hand wheel S.G Iron IS 210 Gr. FG200 1
17 Yoke Bush Aluminium Bronze BS EN 1982 AB – 1 1
18 Washer Carbon Steel - 1
19 Locking Screw Carbon Steel IS 1367 1
20 Disc Cast Steel ASTM A 216 Gr. WCB 1
21 Seat Ring Stainless Steel ASTM A 276 Type 410 / ASTM A 182 Gr. F6a 1
22 Nuts For Eye Bolts H.T Steel ASTMA 194 Gr. 2H 2
SUITABLE FOR
GASES AIR STEAM OIL WATER
SIZE DESCRIPTION
Size (mm) ± 2 B C
25 127 108 100
40 165 127 135
50 303 152 200
65 216 178 250
80 21 190 250
100 292 229 300
125 356 254 350
150 406 279 350
200 495 343 400
250 622 406 450
300 698 483 500
 

 

The information provided here serves as guidelines only and is subject to possible modification.
Whatspp Now For Inquiry
Call Now For Inquiry