PB-1014

Bronze Ferrule Cock

PB-1014

Bronze Ferrule Cock

The Poline bronze ferrule cock is a heavy-duty valve designed for water supply and pipeline connections, ensuring reliable performance under high pressure and demanding conditions. Manufactured in compliance with IS 2692:1989 standards, this valve is ideal for municipal and industrial water applications.

Built with a robust bronze body, it provides full-flow operation, high impact resistance, and long service life, making it suitable for both underground and above-ground installations.

Key Features

  • Strictly conforming to IS 2692:1989 standard
  • Heavy-duty full bore design for maximum flow
  • Withstands high impact and sudden pressure variations
  • Durable bronze body for long service life
  • Suitable for water supply and pipeline connections
  • Designed for underground and utility applications

Ferrule cocks are specifically used in water systems and are built to handle sudden pressure surges and heavy-duty flow conditions.

Applications

  • Municipal water supply systems
  • Pipeline connections and tapping points
  • Underground water distribution lines
  • Industrial water utilities

Technical Specifications

  • Working Pressure: up to 15 Bar
  • Maximum Working Temperature: +250°

Why Use Bronze Ferrule Cock

A ferrule cock valve is widely used in water distribution systems:

  • Provides reliable connection to pipelines
  • Handles sudden pressure surges effectively
  • Ensures long-lasting performance in harsh conditions
  • Suitable for buried and exposed installations

Why Choose Poline Ferrule Cock

  • Manufactured as per IS standards
  • Heavy-duty construction for utility applications
  • Reliable performance in water supply systems
  • Designed for long operational life

FAQ

Q1. What is a ferrule cock used for?
A ferrule cock is used in water supply pipelines for tapping connections and flow control.

Q2. Which standard does this valve follow?
It conforms to IS 2692:1989.

Q3. Is it suitable for underground use?
Yes, it is designed for both underground and above-ground water applications.

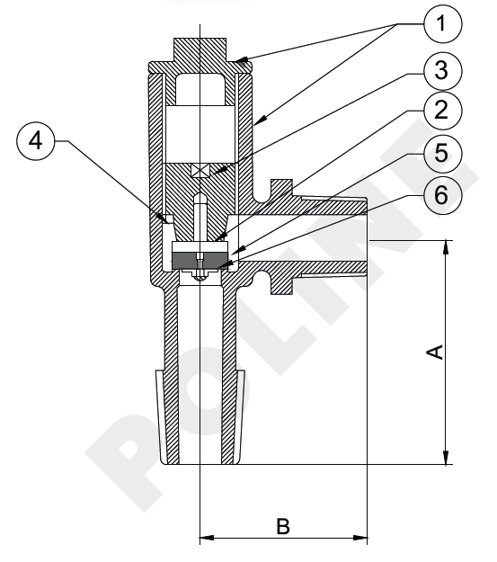
MATERIAL LIST
Part No Part Name Material Specification Qty
1 BODY & BONNET BRONZE IS:318 LTB-2 1
2 DISC & DISC NUT BRASS IS:1264 DC B-2 1
3 PLUG BRONZE IS:318 LTB-2 1
4 JOINT WASHER LEATHER - 1
5 RUBBER WASHER RUBBER IS:4346 1
6 COPPER WASHER COPPER IS: 3487 1
SUITABLE FOR
GASES AIR STEAM OIL WATER
The information provided here serves as guidelines only and is subject to possible modification.
Whatspp Now For Inquiry
Call Now For Inquiry