PCS -3003

Cast Carbon Steel “Y” Type Strainer

PCS -3003

Cast Carbon Steel “Y” Type Strainer

Salient Features
  • Flanged Ends Conforming to BS 10 Table ‘J’.
  • Guided Stainless Steel (S.S 304) Perforated Sheet Screen (Ø1 Mm Perforations) Integrated into The Body and Cover.
  • Equipped with A Drain Plug to Expel Accumulated Debris.
  • Engineered with A Fine Finish and Smooth Contours to Reduce Internal Pressure Drop.
  • Generous Screening Area Enhances Strainer Efficiency.
  • Compatible with Thermic Fluid Applications.
Technical Data
  • Test Pressure (Hydrostatic) : 4.9MPa (kg/cm²g)
  • Maximum Working Pressure (Steam) : 2.46 MPa (24.60 kg/cm²g)
  • Maximum Working Temperature: 425°C
     
     
     
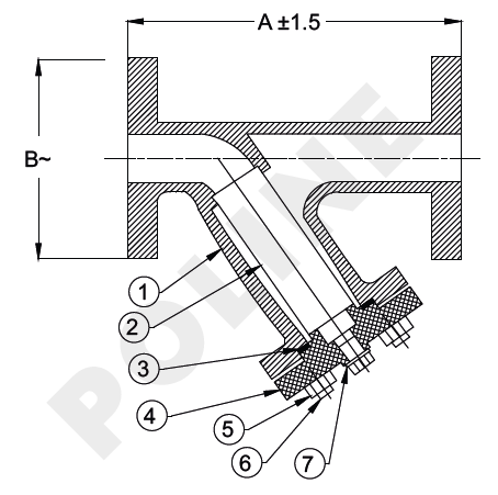
MATERIAL LIST
Part No Part Name Material Specification Qty
1 Body Cast Steel ASTM A216 Gr WCB 1
2 Screen (Ø1 mm Perforation) Stainless Steel Type 304 1
3 Gasket Steam Jointing Sheet IS 2712 Gr. W/3 1
4 Bonnet Cast Steel ASTM A216 Gr WCB 1
5 Nuts H.T Steel ASTM A 194 Gr. 2H As Reqd
6 Studs Alloy Steel ASTM A 193 Gr. B7 As Reqd
7 Gasket Steam Jointing Sheet IS 2712 Gr. W/3 1
SUITABLE FOR
GASES AIR STEAM OIL WATER
SIZE DESCRIPTION
Size (mm) A ±1.5 B~
25 127 108
40 165 127
50 203 152
65 216 178
80 241 190
100 292 229
125 356 254
150 406 279
200 495 343
250 622 406
 

 

The information provided here serves as guidelines only and is subject to possible modification.
Whatspp Now For Inquiry
Call Now For Inquiry