PCS-3006

Cast Steel Gate Valve

PCS-3006

Cast Steel Gate Valve

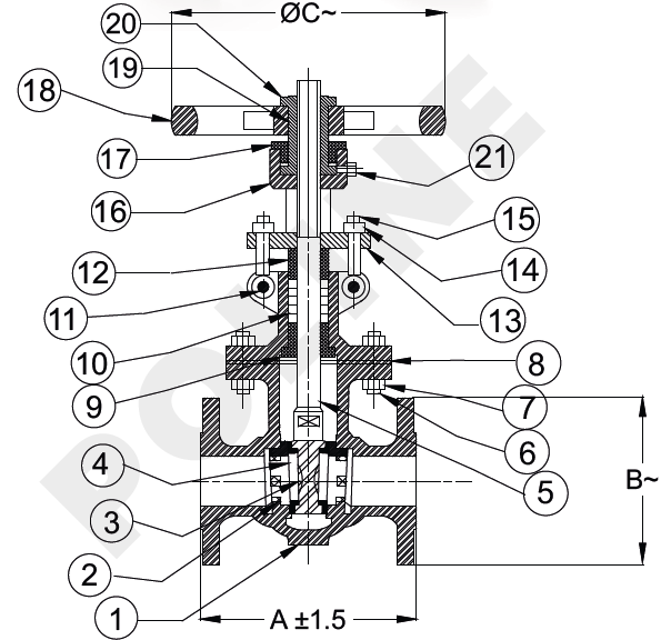
MATERIAL LIST
Part No Part Name Material Specification Qty
1 Body Cast Steel ASTM A 216 Gr. WCB 1
2 Body Seat Ring Stainless Steel ASTM A 276 Type 410 / ASTM A 182 Gr. F6a 2
3 Wedge Cast Steel ASTM A 216 Gr. WCB 1
4 Wedge Facing Ring Stainless Steel ASTM A 276 Type 410 / ASTM A 182 Gr. F6a 2
5 Stem Stainless Steel ASTM A 276 Type 410 / ASTM A 182 Gr. F6a 1
6 Studs Alloy Steel ASTM A 193 Gr. B7 As Reqd.
7 Nuts H.T. Steel ASTM A 194 Gr. 2H As Reqd.
8 Gasket Steam Jointing Sheet IS 2712 Gr. W/3 1
9 Back Seat Bush Aluminium Bronze BS EN 1982 Gr. AB – 1 1
10 Gland Packing Braided Graphite IS 4687 -
11 Pin For Eye Bolt Stainless Steel ASTM A 276 Type 410 2
12 Gland Stainless Steel ASTM A 276 Type 410 1
13 Gland Flange Carbon Steel - 1
14 Nuts H.T Steel ASTM A 194 Gr. 2H 2
15 Eye Bolts Stainless Steel ASTM A 276 Type 410 2
16 Bonnet Carbon Steel ASTM A 216 Gr. WCB 1
17 Stem Nut Stainless Steel ASTM A 276 Type 410 1
18 Hand wheel Hand wheel ASTM A 439 D2 1
19 Yoke Sleeve S.G Iron IS 1865 Gr. 400 / 15 1
20 Hand wheel Nut Carbon Steel - 1
21 Grease Nipple Carbon Steel - 1
SUITABLE FOR
GASES AIR STEAM OIL WATER
The information provided here serves as guidelines only and is subject to possible modification.
Whatspp Now For Inquiry
Call Now For Inquiry