PB-1005

Mini Brass Ball Valve M x F

PB-1005

Mini Brass Ball Valve M x F

The Poline mini brass ball valve M x F (male x female) is a compact and durable valve designed for precise flow control in water, air, and low-pressure applications. Manufactured using high-quality brass, it ensures leak-proof performance, smooth operation, and long service life.

Its compact size makes it ideal for installations where space is limited, while maintaining reliable performance in plumbing and industrial systems.

Key Features

  • Compact and space-saving design
  • Brass body for durability and corrosion resistance
  • Male x Female threaded connection (M x F)
  • Smooth quarter-turn operation
  • PTFE seats for leak-proof sealing
  • Easy installation and maintenance

Applications

  • Water supply and plumbing systems
  • RO and filtration systems
  • Air and pneumatic lines
  • Small pipelines and fittings
  • Domestic and commercial use

Why Choose Poline Mini Ball Valve

  • Reliable and consistent performance
  • Ideal for compact installations
  • Cost-effective solution
  • Long service life with minimal maintenance

Test Pressure(Hydrostatic)

  • Working Pressure: up to 16 Bar
  • Working Temperature: -20° to +120°

FAQ

Q1. What is M x F in mini ball valve?
It means Male x Female threaded connection for easy installation between fittings.

Q2. Where is a mini ball valve used?
Mini ball valves are used in compact systems like RO units, plumbing lines, and small pipelines.

Q3. Is this valve suitable for industrial use?
It is suitable for light industrial and general applications.

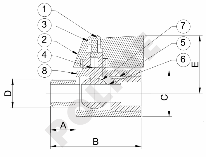
MATERIAL LIST
Part No Part Name Material Specification Qty
1 SCREW ZINC PLATED STEEL - 1
2 HANDLE POLYMER - 1
3 WASHER NBR - 1
4 SPINDLE BRASS IS 6912:FLB 1
5 END ADAPTOR BRASS IS 6912:FLB 1
6 SEAT RING PTFE - 2
7 BALL BRASS CHROME PLATED IS 6912:FLB 1
8 BODY BRASS CHROME PLATED IS 6912:FLB 1
SUITABLE FOR
GASES AIR STEAM OIL WATER
SIZE DESCRIPTION
Size (inches) Size (mm) A B C D E
1/4" 08 10 40 16 14 26
3/8" 10 12 42 18 16 28
1/2" 15 12 44 24 20 32

 

The information provided here serves as guidelines only and is subject to possible modification.
Whatspp Now For Inquiry
Call Now For Inquiry