PCI-2002

Butterfly Valve PN 1.6 with SG Iron Disc – Gear Operated

PCI-2002

Butterfly Valve PN 1.6 with SG Iron Disc – Gear Operated

Salient Features
  • Body Lining Integrally Moulded and Bonded To Body.
  • One Piece Body Construction
  • Working Pressure: 16 Bar
  • Valves Are Bi-Directional
  • Valve Shell Have Moulded Raised Face.
  • Tight Shut Off Valve
Technical Data
  • Shell : 2.4 MPa
  • Seat : 1.76 MPa
  • Working Pressure: 1.6 MPa
  • Working Temperature: 90°C 
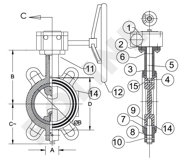
MATERIAL LIST
Part No Part Name Material Specification Qty
1 Butterfly Valve PN 1.6 with SG Iron Disc – Gear Operated - - 1
2 Gasket Steam Joining Sheet - 1
3 Body Cast Iron IS 210 FG 200 1
4 Disc S.G. Iron (Epoxy Coated) IS 1865 Gr. 400/15 1
5 Upper Stem Stainless Steel IS 6603 Gr.12 Cr 12 1
6 Packing Bush Packing Bush IS 318 Gr. LTB 2 1
7 Lower Stem Lower Stem IS 6603 Gr.12 Cr 12 1
8 ‘O’ Ring Nitrile Rubber IS 5192-1 1
9 Bush PTFE BS EN 12086-1 1
10 L-Key Screw Carbon Steel - 1
11 C-Sunk Screw & Nuts Carbon Steel - 4 Each
12 Hand Wheel Sheet Metal - 1
13 Body Lining EPDM/ Nitrile IS 5192-1 1
14 Name Plate Aluminium - 1
15 Taper Pin Stainless Steel IS 6603 Gr.12 Cr 12 1
SUITABLE FOR
GASES AIR STEAM OIL WATER
SIZE DESCRIPTION
Size (mm) A B C D
40 33 108 52 40
50 43 118 64 50
65 46 126 72 65
80 46 132 80 80
100 52 145 96 100
125 56 166 108 125
150 56 176 123 150
200 60 205 151 200
250 68 263 193 250
300 78 301 250 300

 

The information provided here serves as guidelines only and is subject to possible modification.
Whatspp Now For Inquiry
Call Now For Inquiry