PCI-2008
Butterfly Valve PN 2.5 with SG Iron Disc – Gear Operated
PCI-2008
Butterfly Valve PN 2.5 with SG Iron Disc – Gear Operated
Salient Features
- Body Lining Integrally Moulded and Bonded To Body.
- One Piece Body Construction
- Working Pressure: 25 Bar
- Valves Are Bi-Directional
- Valve Shell Have Moulded Raised Face.
- Tight Shut Off Valve
Technical Data
- Shell : 3.75 MPa
- Seat : 2.75 MPa
- Working Pressure: 2.5 MPa
- Working Temperature: 90°C
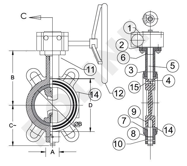
| MATERIAL LIST |
| Part No |
Part Name |
Material |
Specification |
Qty |
| 1 |
Gear Box Assembly |
- |
- |
1 |
| 2 |
Gasket |
Steam Joining Sheet |
IS2712 Gr. W/3 |
1 |
| 3 |
Body |
Cast Iron |
IS 210 FG 200 |
1 |
| 4 |
Disc |
S.G. Iron (Epoxy Coated) |
IS 1865 Gr. 400/15 |
1 |
| 5 |
Upper Stem |
Stainless Steel |
IS 6603 Gr.12 Cr 12 |
1 |
| 6 |
Packing Bush |
Bronze |
IS 318 Gr. LTB 2 |
1 |
| 7 |
Lower Stem |
Stainless Steel |
IS 6603 Gr.12 Cr 12 |
1 |
| 8 |
‘O’ Ring |
Nitrile Rubber |
IS 5192-1 |
1 |
| 9 |
Bush |
PTFE |
BS EN 12086-1 |
1 |
| 10 |
L-Key Screw |
Carbon Steel |
- |
1 |
| 11 |
C-Sunk Screw & Nuts |
Carbon Steel |
- |
1 |
| 12 |
Hand Wheel |
Sheet Metal |
- |
1 |
| 13 |
Body Lining |
EPDM/ Nitrile |
IS 5192-1 |
1 |
| 14 |
Name Plate |
Aluminium |
- |
1 |
| 15 |
Taper Pin |
Stainless Steel |
IS 6603 Gr.12 Cr 12 |
1 |
| SUITABLE FOR |
| GASES |
AIR |
STEAM |
OIL |
WATER |
| |
|
|
|
|
| Size (mm) |
A |
B |
D |
E |
| 40 |
33 |
108 |
52 |
40 |
| 50 |
43 |
118 |
64 |
50 |
| 65 |
46 |
126 |
72 |
65 |
| 80 |
46 |
132 |
80 |
80 |
| 100 |
52 |
145 |
96 |
100 |
| 125 |
56 |
166 |
108 |
125 |
| 150 |
56 |
176 |
123 |
150 |
| 200 |
60 |
205 |
151 |
200 |
| 250 |
68 |
263 |
193 |
250 |
| 300 |
78 |
300 |
300 |
300 |
The information provided here serves as guidelines only and is subject to possible modification.