PCS-3008

Cast Steel Swing Check Valve Class 150

PCS-3008

Cast Steel Swing Check Valve Class 150

Salient Features
  • Basic Design and manufacture according to JIS B2084
  • Structure Length according to JIS B2002
  • Flange ends complied with JIS B2220
  • Inspection and tested according to JIS B2003
Technical Data
  • Shell: 3 MPa
  • Seat & Back Seat (Hydrostatic) : 2.2 MPa
  • Maximum Working Temperature: 150°C
     
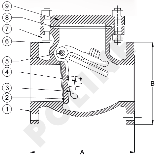
MATERIAL LIST
Part No Part Name Material Specification Qty
1 Body Cast Steel ASTM A 216 Gr. WCB 1
2 Disc Cast Steel ASTM A 216 Gr. WCB 1
3 Seat Ring Carbon Steel with 13% Cr. - 1
4 Disc Nut Alloy Steel ASTM A 193 Gr. B7 1
5 Hinge Cast Steel ASTM A 216 Gr. WCB 1
6 Hinge Pin Stainless Steel SS AISI 410 1
7 Nuts H.T Steel ASTM A 194 Gr. 2 H 1
8 Gasket Spiral Wound S.S (Type 304) Graphite Filled 1
9 Bonnet Cast Steel ASTM A 216 Gr. WCB 1
SUITABLE FOR
GASES AIR STEAM OIL WATER
SIZE DESCRIPTION
Size (mm) A ~ B~
40 165 127
50 203 152
65 216 178
80 241 190
100 392 229
125 330 254
150 356 279
200 495 343
250 622 406
300 699 483

 

The information provided here serves as guidelines only and is subject to possible modification.
Whatspp Now For Inquiry
Call Now For Inquiry