PFS -4001

Forged Steel Ball Valve Three Piece Design (Class 800)

PFS -4001

Forged Steel Ball Valve Three Piece Design (Class 800)

Salient Features
  • Designed to meet BS EN ISO17292
  • Features screwed female ends available in BSPT, NPT, or socket weld configurations.
  • Reduced bore with a three-piece construction.
  • Exceptional quality and performance.
Technical Data
  • Shell: 20.7 MPa (3000 psig)
  • Seat & Back Seat (Hydrostatic) : 7.6 MPa
  • Maximum Working Temperature: 175°C
     
     
     
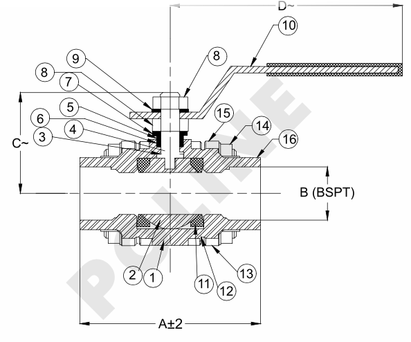
MATERIAL LIST
Part No Part Name Material Specification Qty
1 Body Forged Steel ASTM A105 1
2 Ball Stainless Steel ASTM A 276 Type 304 / ASTM A 351 Gr. CF8 1
3 Thrust Washer PTFE 35% Carbon Filled - 1
4 Stem Stainless Steel AISI 304 1
5 Packing Ring PTFE 35% Carbon Filled - 2
6 Gland Stainless Steel ASTM A 276 Type 304 1
7 Cup Washer Stainless Steel ASTM A 276 Type 304 2
8 Nut H.T Steel ASTM A 194 Gr. 2H 2
9 Spring Washer Spring Steel EN 47 Gr. B 1
10 Lever Carbon Steel - 1
11 Body Seat Ring PTFE - 2
12 Gasket PTFE - 2
13 Spring Washer Spring Steel EN 47 Gr. B 8
14 Studs Alloy Steel ASTM A 193 Gr. B7 4
15 Nuts H.T Steel ASTM A 194 Gr. 2H 8
16 End Connector Forged Steel ASTM A105 2
SUITABLE FOR
GASES AIR STEAM OIL WATER
SIZE DESCRIPTION
Size (mm) A ± 2 B C- D~
15 90 1/2 38 155
20 95 3/4 40 160
25 100 1 57 160
32 110 1 1/4 65 160
40 120 1 1/2 75 178
50 130 2 80 178
 

 

The information provided here serves as guidelines only and is subject to possible modification.
Whatspp Now For Inquiry
Call Now For Inquiry