PCI-2013
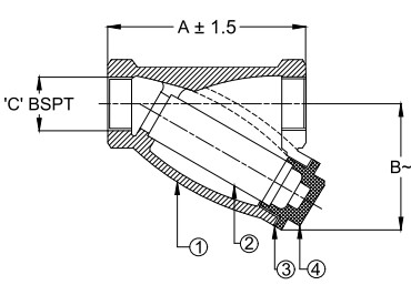
Cast Iron Y-Type Strainer (Screwed)
PCI-2013
Cast Iron Y-Type Strainer (Screwed)
Salient Features
- Screwed Female Ends to BSPT.
- Stainless Steel (SS 304) perforated sheet screen (01 Perforation) is guided in body and bonnet.
- Fine finish and smooth contours to minimize pressure drop inside the strainer.
- Large Screening area makes the strainer highly efficient in performance.
- Testing & Inspection Standard : 598
Technical Data
- Shell : 21.10 kg/cm²g(300 psig)
- Working Pressure (Steam) :10.55 kg/cm²g (150 psig)
- Working Temperature: 220°C
| MATERIAL LIST |
| Part No |
Part Name |
Material |
Specification |
Qty |
| 1 |
Body |
Cast Iron |
IS 210 FG 200 |
1 |
| 2 |
Mesh Type |
Stainless Steel |
IS 6603 |
1 |
| 3 |
Gasket |
Steam Joining Sheet |
IS 2712 Gr. W/3 |
1 |
| 4 |
Cover |
Cast Iron |
IS 210 FG200 |
1 |
| SUITABLE FOR |
| GASES |
AIR |
STEAM |
OIL |
WATER |
| |
|
|
|
|
| Size (mm) |
A ± |
Ø B |
C~ |
| 15 |
99 |
71 |
1/2" |
| 20 |
114 |
85 |
3/4" |
| 25 |
120 |
95 |
1" |
| 32 |
139 |
110 |
1 1/4" |
| 40 |
144 |
1116 |
1 1/2" |
| 50 |
157 |
140 |
2" |
| 65 |
208 |
155 |
2 1/2" |
The information provided here serves as guidelines only and is subject to possible modification.